Proper Operation
Learn how your appliance is supposed to operate so you can determine if it is malfunctioning.


This page contains affiliate links. For more information visit our
FTC disclosure page.

  • Visit our sponsor for parts:
The AppliancePartsPros team

Failed Ignitor

Ignitors are constructed of metals that have significant resistance to the flow of electric current. Ignitors reach temperatures as high as 2000 degrees F or more. The constant heating and cooling can fatigue the metal until it cracks and breaks. This process limits the life of an ignitor. This is the reason why the ignitor is the most likely component to fail in a gas dryer burner assembly.The following figure shows a failure crack in a round ignitor.

Failed Ignitor 1

The other type of ignitor has a flat blade as shown in the following figure.Note the two cracks leading to its failure.

Failed Ignitor 2

Tools Required

  • An ohmmeter set for the 1 Kohm scale or the 150 volts AC scale.
  • 5/16 inch nut driver
  • Adjustable wrench

Procedures for Gathering Confirming Data

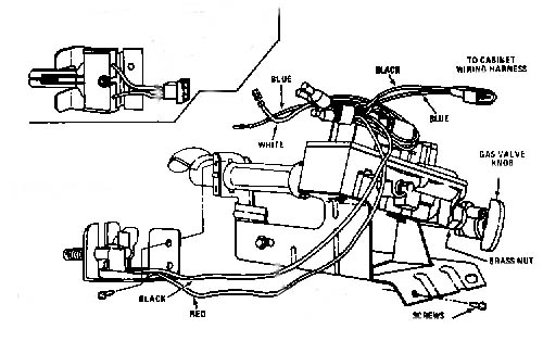
  1. Open the dryer bottom access panel or open the burner access door. Start the dryer in a cycle that demands heat. If nothing happens on the burner assembly, the ignitor is suspect.
  2. Perform the next step if you have full access to the burner assembly and the dryer is still operable. Locate the two wires coming down from the back of the dryer cabinet and disconnect the connector near the burner assembly. Set a voltmeter to read 120 Volts AC. Place each of the probes on the two studs inside the connector half of the two wires coming from the back of the dryer. Turn the dryer on again and verify that there is 120 volts AC coming down to the burner assembly. This indicates that the timer and thermostats are OK.
  3. Turn the dryer off and disconnect the dryer power cord. Remove the front of the dryer if you don't have full access to the burner assembly.
  4. The burner assembly will have to be removed from the dryer in order to gain access to the ignitor.
  5. Locate the gas valve at the burner assembly and turn off the gas. Use an adjustable wrench to remove the gas line from the burner assembly. THE GAS LINE FITTING FREQUENTLY HAS LEFT HAND THREADS.
  6. Disconnect the two wires leading to the radiant sensor on the burner funnel.
  7. If you haven't already done so, disconnect the two wires coming down from the back of the dryer.
  8. Remove the screws holding the burner to the bottom of the dryer cabinet. Slide the burner assembly out of the dryer cabinet.
  9. Locate the ignitor on the end of the burner. Disconnect the two wires leading to the ignitor. DO NOT MEASURE THE IMPEDANCE OF THE IGNITOR BEFORE DISCONNECTING IT FROM THE BURNER ASSEMBLY. Your ohmmeter will indicate that the ignitor is good even when it is an open circuit because the voltmeter will measure the impedance of the secondary coil in parallel with the ignitor. If the ohmmeter indicates an open circuit through the disconnected ignitor, the ignitor is bad. Frequently you can see the break in the ignitor as in the figure above.

Parts Required

Use the appliance model number to order the correct replacement ignitor.

Procedures for Replacing the Ignitor

  1. (Figure 1) Replace the new ignitor on/in the end of the burner assembly. Reconnect the two wires.
  2. Remount the burner assembly in the dryer.
  3. Reconnect the gas line to the burner assembly and open the gas valve.
  4. Reconnect the two wires to the radiant sensor.
  5. Reconnect the two wires that came down from the back of the dryer.
  6. If you had to remove the whole front of the dryer, replace it now.
  7. Plug in the dryer.
  8. Turn the timer to a cycle that demands heat and start the dryer.
  9. Verify that the ignitor glows, the gas valves open and the flame starts.
  10. Replace the access panel or close the viewing port.

Figure 1 (Return)

Burner Assembly